Small Surface Mounted Ornamental Gate Lock LAKY
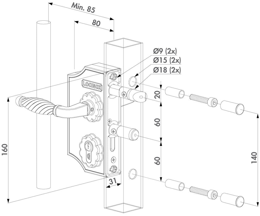
High quality ornamental lock with aluminium housing and stainless steel mechanism. We advise this lock as a standard for all your ornamental gates. The 10 mm continuous adjustability of the bolts allows a perfect latching / locking of the mechanism. The lock has a solid stainless steel deadbolt with a 23 mm throw guarantees a secure locking. Standard supplied with zamac ornamental handle pair. For a fast and highly precise installation, we recommend using the Drill-Fix drilling jig.